EKSMA电动平移台960-0060 是一款由立陶宛EKSMA Optics公司制造的精细电动位移装置,具备高精度、紧凑设计和灵活配置等特点,适用于光学实验、激光加工、精细测量等需要准确位移控制的场景。
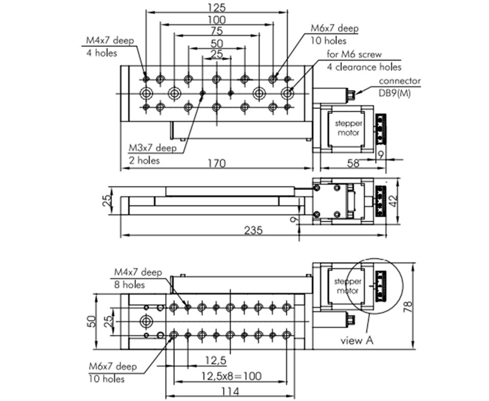
窄(50毫米),紧凑的设计,高导轨精度,行程范围50,100,150,200毫米,X-Y-Z配置可用。我们强烈建议使用基板820-0136将此类平台放置在平面上。
我们提供广泛的光学机械:从光学台和试验板到较小的光学机械组件,如光学导轨、平移台、光学支架或支柱。许多平移台和光学支架也有电动和真空兼容的版本。
高精度与稳定性
高导轨精度和微米级分辨率确保位移控制的准确性,适用于对位置敏感的实验(如激光干涉测量、光学对准)。
重复定位精度高,减少重复操作时的误差积累。
灵活配置
支持多轴联动,可扩展为X-Y-Z三维位移平台,适应复杂实验需求。
提供不同行程选项,用户可根据实际需求选择合适型号。
兼容性与扩展性
电机接口标准化,支持与多种控制器兼容。
可搭配EKSMA其他光学机械组件(如光学导轨、支架)构建完整实验系统。
安全设计
机械端限位开关防止运动超程,避免设备损坏。
紧凑设计减少运动部件的惯性,提升动态响应速度。
|
产地 |
立陶宛 |
|
行程范围 |
50 mm |
|
导螺杆螺距 |
0.5 mm |
|
分辨率 |
2.5 µm |
|
速度 |
max. 10 mm/s |
|
负载能力(水平) |
8 kg |
|
负载能力(垂直) |
3 kg |
|
电机连接器 |
DB9(M) |
|
步进电机 |
4247 |
|
X-Y |
直接 |
|
Z |
810-0160 |
|
机械端限位开关 |
2 |
|
开关极性 |
按下即闭合 |

光学实验
激光光路调整、光学元件对准、干涉测量等需要微米级位移控制的场景。
激光加工
激光聚焦位置调整、工件表面扫描加工等需准确控制激光束位置的场景。
精细测量
显微镜载物台调整、三维形貌测量等需高精度位移的测量系统。
工业自动化
自动化生产线上的精细定位、机器人末端执行器调整等需稳定位移控制的场景。